
¿Está Honda a punto de hacer historia nuevamente? Todos los indicios apuntan a que sí, con un posible relanzamiento de la legendaria VFR800. Esta novedad podría significar no solo la vuelta de un modelo querido, sino también el rescate de su motor V4, que se ha mantenido en desarrollo y es visto por muchos como el corazón de esta máquina histórica.

Un vistazo al pasado y su relevancia hoy
La VFR800 no es cualquier motocicleta. Fabricada entre 1998 y 2022, su producción de 36 años la consagró como un ícono del fabricante japonés. Durante estas décadas, la moto fue evolucionando, adaptándose a nuevas tecnologías pero conservando siempre las características que la hicieron especial: un manejo preciso, su confiabilidad y, por supuesto, ese distintivo motor V4. Esta legendaria máquina podría volver en un momento clave, cuando la nostalgia está a la orden del día y los consumidores buscan conexiones emocionales con sus primeras experiencias en motocicletas.
Características técnicas y mejoras esperadas
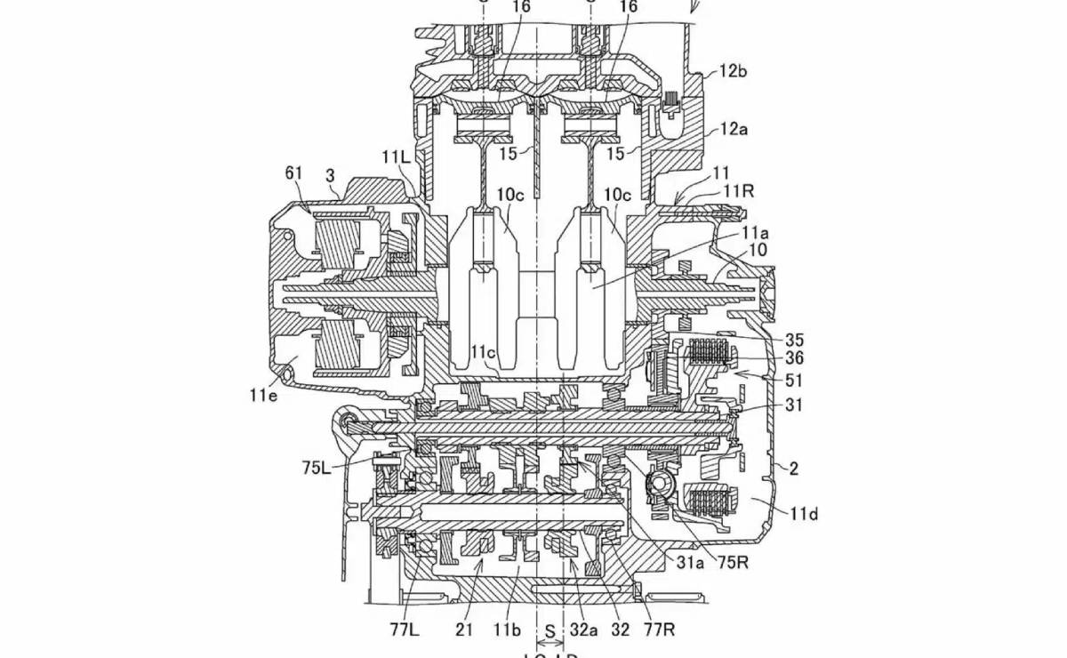
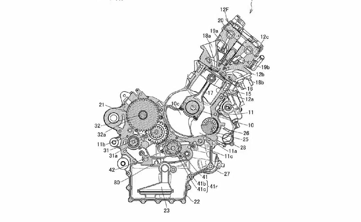
Aunque Honda aún no ha revelado detalles específicos del nuevo modelo, hay ciertas expectativas que no podemos ignorar. La VFR800 siempre ha sido conocida por su potencia equilibrada, y se espera que la versión renacida mantenga, al menos, el icónico motor V4. Este bloque, históricamente, ha entregado potencias alrededor de los 105 CV y un par motor que ha permitido una conducción ágil y cómoda en diversas circunstancias. La incorporación de tecnologías modernas podría mejorar aún más estas cifras, ofreciendo una experiencia de manejo inigualable.

Posicionamiento en el mercado actual
El regreso de la VFR800 se produciría en un entorno competitivo, donde otras marcas también ofrecen modelos deportivos que apelan al rendimiento y al estilo. Sin embargo, la conexión emocional y la tradición de la VFR800 es algo que las otras marcas no pueden replicar fácilmente. Si bien hay competidores con motores más novedosos o características más futuristas, pocos pueden brindar el legado y la trayectoria que ofrece la VFR800.
Especulaciones sobre precios y disponibilidad
Aunque Honda mantiene silencio sobre el precio de esta posible iteración, se especula que podría estar en un rango competitivo, atractiva tanto para nuevos entusiastas como para fieles seguidores de la marca que buscan renovar su máquina con esta renovada VFR800. En cuanto a la disponibilidad, todo apunta a un lanzamiento a mediano plazo, probablemente a partir del próximo año.

Cierre: Un renacer anticipado
La expectativa que se está generando en torno a la posible resurrección de la VFR800 no es casualidad. Honda ha demostrado una y otra vez su capacidad para innovar y sorprender en el mercado. Si este regreso se materializa, no solo se revitalizaría una gama histórica, sino que se ofrecería una opción rejuvenecida a un mercado que valora tanto la historia como la tecnología moderna. Este posible renacer de la VFR800 podría alterar significativamente el panorama motociclista en los próximos años, sembrando la emoción en los corazones de los apasionados por las dos ruedas.





